TBM žeriav TBM žeriav TBM žeriav TBM žeriav TBM žeriav TBM žeriav TBM žeriav TBM žeriav TBM žeriav TBM žeriav TBM žeriav TBM žeriav TBM žeriav

Žeriavový mobilný portál

Domov / Produkty / Ľahký žeriavový systém / Žeriavový mobilný portál

Žeriavový mobilný portál

Produkty

Výhodou mobilných portálov je ich všesmerová mobilita, rýchla demontáž a inštalácia a minimálna pôdorysná plocha, čo umožňuje ich presun na iné miesto pomocou minivanu. Ich nastaviteľná šírka a výška spolu s dobre navrhnutým oceľovým rámom vydržia zaťaženie v rozsahu od 100 do 5 000 kg. Sú obzvlášť vhodné na inštaláciu, manipuláciu a uvedenie do prevádzky dielenského vybavenia, nakladanie a vykladanie nákladu z vozidiel a zdvíhanie veľkých komponentov motora v autoservisoch.

Existujú dva hlavné typy malých zdvíhacích portálov: jeden je plne mobilný portál s brzdenými nosnými kolesami, vhodný na zdvíhanie na úrovni zeme. Druhým je pevný portál namontovaný na koľajniciach na podlahe alebo nosníku, ktorý využíva elektrický alebo ručný zdvihák na mechanizované zdvíhanie. To znižuje pracovnú silu, znižuje výrobné a prevádzkové náklady a zlepšuje efektivitu práce. Naša spoločnosť môže prispôsobiť produkty na základe požiadaviek zákazníka. Mobilné portálové kladkostroje môžu byť vybavené ručným reťazovým kladkostrojom alebo elektrickým reťazovým kladkostrojom, ktoré ponúkajú vysokú praktickosť a osvedčenú technológiu, vďaka čomu sú medzi výrobcami veľmi obľúbené.

  • Špecifikácia
  • O TBM
  • Kontaktujte nás

Model Zdvíhanie závažia Rozmery (mm) Deadweight
kg A B C D F G H J K L (kG)
SRGS20 500 2000 2080 1100-1500 1544-2044 1876-2376 1158 2001-2501 2080 420 440 39
SRGS23 400 2300 2380 1200-1800 2380 40
SRGS40 250 4000 4080 2700-3500 4080 46
SRGM20 400 2000 2080 1100-1500 1548-2148 1880-2480 1215 2005-2605 2080 40
SRGM23 400 2300 2380 1200-1800 2380 41
SRGM40 250 4000 4080 2700-3500 4080 47
SRGT20 250 2000 2080 1100-1500 2022-2922 2354-3254 1586 2479-3379 2645 44
SRGT23 250 2300 2380 1200-1800 2380 45
SRGT40 250 4000 4080 2700-3500 4080 50
SRG1S20 1000 2000 2080 1102-1502 1490-1990 1822-2322 1242 1904-2404 2077 464 536 61
SRG1S30 1000 3000 3080 1902-2502 3077 67
SRG1S40 500 4000 4080 1902-3502 4077 73
SRG1M20 1000 2000 2080 1102-1502 1728-2428 2061-2761 1440 2143-2843 2200 65
SRG1M30 1000 3000 3080 1902-2502 3077 71
SRG1M40 500 4000 4080 1902-3502 4077 77
SRG1T20 1000 2000 2080 1102-1502 1969-2869 2301-3201 1639 2383-3283 2830 70
SRG1T30 1000 3000 3080 1902-2502 3077 76
SRG1T40 500 4000 4080 1902-3502 4077

82

Nosnosť zdvihu Model Rozmery (mm) Hmotnosť (kg)
Podpery*2 Diaľkové svetlá*A
Špecifikácie kolieska
Výška háčika D Prírastok výšky E Maximálna výška hornej časti nosníka F Celková výška H Šírka G
2000
(A=3920)
S 1495-2245 5x150 2600 1931-2681 1212 68*2 9,2*A 6 palcov
M 2117-2867 5x150 3222 2553-3303 1429 75*2 9,2*A 6 palcov
ja 2232-3232 5x200 3587 2668-3668 1726 84*2 9,2*A 6 palcov
T 2747-3947 6x200 4301 3183-4383 1993 93*2 9,2*A 6 palcov
H 3195-4395 6x200 4847 3730-4930 2234 98*2 9,2*A 6 palcov
L 3585-4785 6x200 5347 4230-5430 2557 105*2 9,2*A 6 palcov
K 3686-5286 8x200 5848 4330-5930 2733 111*2 9,2*A 6 palcov
B 3869-5669 9x200 6149 4431-6231 2733 115*2 9,2*A 6 palcov
3000
(A=3920)
5 1545-2295 5x150 2698 2029-2779 1212 71*2 11*A 8 palcov
M 2167-2917 5x150 3320 2651-3401 1429 78*2 11*A 8 palcov
ja 2282-3282 5x200 3685 2766-3766 1726 87*2 11*A 8 palcov
T 2797-3997 6x200 4399 3281-4481 1993 95*2 11*A 8 palcov
H 3245-4445 6x200 4847 3730-4930 2234 101*2 11*A 8 palcov
L 3745-4945 6x200 5347 4230-5430 2557 107*2 11*A 8 palcov
K 3846-5446 8x200 5848 4330-5930 2733 113*2 11*A 8 palcov
B 4029-5829 9x200 6231 4513-6313 2733 119*2 11*A 8 palcov
5000
(A=3920)
ja 2143-3143 5x200 3592 2717-3717 1736 108*2 15*A 8 palcov
T 2838-4038 6x200 4487 3412-4612 2059 120*2 15*A 12 palcov
H 3289-4489 6x200 4938 3862-5060 2234 125*2 15*A 12 palcov
L 3789-4989 6x200 5438 4362-5562 2557 131*2 15*A 12 palcov

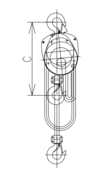
Ručný reťazový kladkostroj (referenčný)
Zaťaženie (kg) C (mm) Hmotnosť (kg)
250 290 4
500 350 9
1000 380 12
2000 460 19
3000 570 27
5000 700 43

Elektrický kladkostroj (referenčný)
Zaťaženie (kg) C (mm) Rýchlosť zdvíhania (m/min) Hmotnosť (kg)
250 410 8/2 24
500 490 8/2 31
1000 430 4/1 35
2000 615 4/1 65
3000 730 4/1 140
5000 760 4/1 150

Voliteľné príslušenstvo

Pre typ SRG
Sériové číslo Meno Obrázok
SRG0006 0,5t navijak
SRG1006 1t navijak
SRG0007
SRG1007
Pevná podpora
SRG0008
SRG1008
Flexibilná podpora
SRG1010 typ PRG1
SRG0016
SRG1016
Popruh na zaväzovanie

Pre typ SG
Sériové číslo Meno Obrázok
SG 2006
SG 3006
SG 5006
Odnímateľný vozík
SG 2008
SG 3008
SG 5008
Ručný vozík na zips
SG 0002 Rozvod energie na trolejbus
SG 2010
SG 3010
SG 5010
Podporné nohy
SG 2012
SG 3012
SG 5012
Pomocné kolieska
SG 2016
SG 3016
SG 5016
Typ jednokolky
Zhejiang Shuangniao Lifting Equipment Co., Ltd. je spoločnosť špecializujúca sa na výskum a vývoj, výrobu, marketing a popredajný servis elektrických kladkostrojov s drôteným lanom. Od svojho založenia spoločnosť prikladá veľký význam vývoju nových produktov a technologickým inováciám a zameriava sa na vysoké východiskové body a vysoké konfigurácie. Vo výskume a vývoji elektrického kladkostroja pri neustálom zavádzaní zahraničnej vyspelej technológie aktívne rozvíja výskum a vývoj nového elektrického kladkostroja v európskom štýle a stanovuje základný koncept „inovácia vedie budúcnosť, zameriava sa na dosiahnutie úžasného“, ktorý sa stal lopatkou vývoja domáceho elektrického kladkostroja a vedie k rozvoju domáceho odvetvia elektrických kladkostrojov.
O nás
Zhejiang Shuangniao Lifting Equipment Co., Ltd.
Zhejiang Shuangniao Lifting Equipment Co., Ltd.

Zhejiang Shuangniao Lifting Equipment Co., Ltd. je spoločnosť špecializujúca sa na výskum a vývoj, výrobu, marketing a popredajný servis elektrických kladkostrojov s drôteným lanom. Od svojho založenia spoločnosť prikladá veľký význam vývoju nových produktov a technologickým inováciám a zameriava sa na vysoké východiskové body a vysoké konfigurácie. Vo výskume a vývoji elektrického kladkostroja pri neustálom zavádzaní zahraničnej vyspelej technológie aktívne rozvíja výskum a vývoj nového elektrického kladkostroja v európskom štýle a stanovuje základný koncept „inovácia vedie budúcnosť, zameriava sa na dosiahnutie úžasného“, ktorý sa stal lopatkou vývoja domáceho elektrického kladkostroja a vedie k rozvoju domáceho odvetvia elektrických kladkostrojov.

Správy